Bài 4.16 thuộc chương 1: Hàm số bậc hai của SGK Toán 11 tập 1. Bài tập này yêu cầu học sinh vận dụng kiến thức về điều kiện xác định của hàm số, tìm tập xác định và tập giá trị của hàm số.
tusach.vn cung cấp lời giải chi tiết, dễ hiểu, giúp học sinh nắm vững kiến thức và rèn luyện kỹ năng giải bài tập.
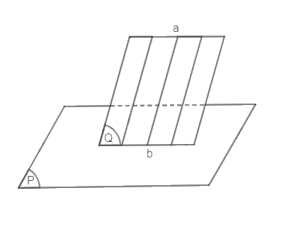
Trong giờ học bóng đá, khi hai bạn Nam và Mai lại gần khung thành thủ môn, bạn Nam khẳng định thanh ngang trên cùng của khung thành và bóng của nó là hình ảnh của hai đường thẳng song song.
Đề bài
Trong giờ học bóng đá, khi hai bạn Nam và Mai lại gần khung thành thủ môn, bạn Nam khẳng định thanh ngang trên cùng của khung thành và bóng của nó là hình ảnh của hai đường thẳng song song. Bạn Mai cho rằng hai đường thẳng này chưa chắc song song vì còn phụ thuộc vào ảnh hưởng của ánh sáng Mặt Trời nữa. Hãy cho biết ai đúng, ai sai. Vì sao? Biết rằng, Mặt Trời cách xa Trái Đất nên các tia sáng có thể xem là những đường thẳng song song.

Phương pháp giải - Xem chi tiết
Áp dụng định lý: Cho đường thẳng a song song với mặt phẳng (P). Nếu mặt phẳng (Q) chứa a và cắt (P) theo giao tuyến b thì b song song với a.
Lời giải chi tiết

Gọi thanh ngang trên cùng của khung thành là a, mặt đất là (P). Các tia sáng song song tạo thành mặt phẳng (Q). Khi đó bóng của thanh ngang chính là giao tuyến của (P) và (Q). Gọi giao tuyến này là b.
Suy ra a và b phải luôn song song với nhau.
Vậy bạn Nam nói đúng, Mai nói sai.
Bài 4.16 trang 105 SGK Toán 11 tập 1 là một bài tập quan trọng trong chương Hàm số bậc hai. Bài tập này giúp học sinh củng cố kiến thức về tập xác định và tập giá trị của hàm số, đồng thời rèn luyện kỹ năng giải toán.
Cho hàm số f(x) = √(2x - 1) / (x - 3). Tìm tập xác định của hàm số.
Để hàm số f(x) xác định, điều kiện cần và đủ là:
Giải bất phương trình 2x - 1 ≥ 0, ta được:
2x ≥ 1
x ≥ 1/2
Giải phương trình x - 3 ≠ 0, ta được:
x ≠ 3
Vậy, tập xác định của hàm số f(x) là:
D = [1/2; 3) ∪ (3; +∞)
Điều kiện 2x - 1 ≥ 0 đảm bảo rằng biểu thức dưới dấu căn là không âm. Điều kiện x - 3 ≠ 0 đảm bảo rằng mẫu số khác 0, tránh phép chia cho 0.
Việc kết hợp hai điều kiện này cho ta tập xác định của hàm số.
Các bài tập tương tự thường yêu cầu học sinh tìm tập xác định của các hàm số chứa căn thức, phân thức, hoặc logarit. Để giải các bài tập này, học sinh cần nắm vững các điều kiện xác định của từng loại hàm số.
Tìm tập xác định của hàm số g(x) = √(x + 2) / (x² - 1).
Lời giải:
Vậy, tập xác định của hàm số g(x) là: D = [-2; -1) ∪ (-1; 1) ∪ (1; +∞)
Khi gặp bài tập tìm tập xác định, hãy xác định rõ các điều kiện cần và đủ để hàm số xác định. Sau đó, giải các bất phương trình hoặc phương trình tương ứng để tìm ra tập xác định.
Để nắm vững kiến thức về tập xác định của hàm số, học sinh nên luyện tập thêm nhiều bài tập khác nhau. tusach.vn cung cấp một kho bài tập phong phú, đa dạng, giúp học sinh rèn luyện kỹ năng giải toán một cách hiệu quả.
Hy vọng với lời giải chi tiết và hướng dẫn cụ thể này, các em học sinh sẽ hiểu rõ hơn về Bài 4.16 trang 105 SGK Toán 11 tập 1 và tự tin giải các bài tập tương tự.
Tải sách PDF tại TuSach.vn mang đến trải nghiệm tiện lợi và nhanh chóng cho người yêu sách. Với kho sách đa dạng từ sách văn học, sách kinh tế, đến sách học ngoại ngữ, bạn có thể dễ dàng tìm và tải sách miễn phí với chất lượng cao. TuSach.vn cung cấp định dạng sách PDF rõ nét, tương thích nhiều thiết bị, giúp bạn tiếp cận tri thức mọi lúc, mọi nơi. Hãy khám phá kho sách phong phú ngay hôm nay!
Sách kỹ năng sống, Sách nuôi dạy con, Sách tiểu sử hồi ký, Sách nữ công gia chánh, Sách học tiếng hàn, Sách thiếu nhi, tài liệu học tập